Product Summary
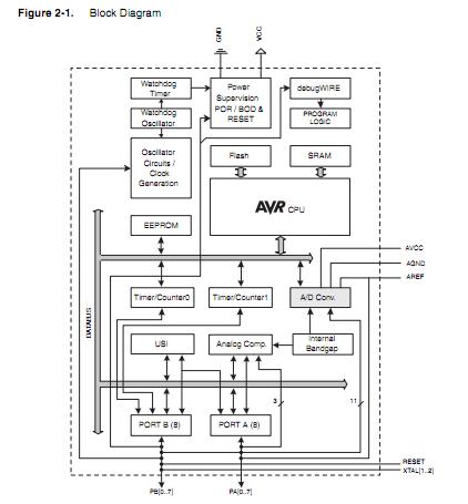
The ATTINY861-20PU is a low-power CMOS 8-bit microcontroller based on the AVR enhanced RISC architecture. By executing powerful instructions in a single clock cycle, the ATTINY861-20PU achieves throughputs approaching 1 MIPS per MHz allowing the system designer to optimize power consumption versus processing speed.
Parametrics
ATTINY861-20PU absolute maximum ratings: (1)Operating Temperature: –55 to +125℃; (2)Storage Temperature: –65 to +150℃; (3)Voltage on any Pin except RESET with respect to Ground: –0.5V to VCC+0.5V; (4)Voltage on RESET with respect to Ground: –0.5V to +13.0V; (5)Maximum Operating Voltage: 6.0V; (6)DC Current per I/O Pin: 40.0mA; (7)DC Current VCC and GND Pins: 200.0mA; (8)Injection Current at VCC=0V: ±5.0mA; (9)Injection Current at VCC=5V: ±1.0mA.
Features
ATTINY861-20PU features: (1)High Performance, Low Power AVR 8-Bit Microcontroller; (2)Advanced RISC Architecture; (3)Non-volatile Program and Data Memories; (4)8/16-bit Timer/Counter with Prescaler; (5)8/10-bit High Speed Timer/Counter with Separate Prescaler 3 High Frequency PWM Outputs with Separate Output Compare Registers Programmable Dead Time Generator; (6)Universal Serial Interface with Start Condition Detector; (7)10-bit ADC; (8)debugWIRE On-chip Debug System; (9)In-System Programmable via SPI Port; (10)External and Internal Interrupt Sources; (11)Low Power Idle, ADC Noise Reduction, and Power-down Modes; (12)Enhanced Power-on Reset Circuit; (13)Programmable Brown-out Detection Circuit; (14)Internal Calibrated Oscillator.
Diagrams

| Image | Part No | Mfg | Description | ![]() |
Pricing (USD) |
Quantity | ||||||||||||
|---|---|---|---|---|---|---|---|---|---|---|---|---|---|---|---|---|---|---|
![]() |
![]() ATTINY861-20PU |
![]() Atmel |
![]() 8-bit Microcontrollers (MCU) 8kB Flash 0.512kB EEPROM 16 I/O Pins |
![]() Data Sheet |
![]()
|
|
||||||||||||
| Image | Part No | Mfg | Description | ![]() |
Pricing (USD) |
Quantity | ||||||||||||
![]() |
![]() ATtiny10 |
![]() Other |
![]() |
![]() Data Sheet |
![]() Negotiable |
|
||||||||||||
![]() |
![]() ATTINY10-MAH |
![]() Atmel |
![]() 8-bit Microcontrollers (MCU) AVR 1KB FL 32B SRAM ATTINY10 12MHz |
![]() Data Sheet |
![]() Negotiable |
|
||||||||||||
![]() |
![]() ATTINY10-MAHR |
![]() Atmel |
![]() 8-bit Microcontrollers (MCU) AVR 1KB FLSH 32B SRAM 12MHz NiPdAu |
![]() Data Sheet |
![]()
|
|
||||||||||||
![]() |
![]() ATTINY10-TS8R |
![]() Atmel |
![]() 8-bit Microcontrollers (MCU) AVR1KB FLSH 32B SRAM 12MHz NiPdAu + 125C |
![]() Data Sheet |
![]()
|
|
||||||||||||
![]() |
![]() ATTINY10-TSHR |
![]() Atmel |
![]() 8-bit Microcontrollers (MCU) 12MHz, Indust. Temp |
![]() Data Sheet |
![]()
|
|
||||||||||||
![]() |
![]() ATtiny11 |
![]() Other |
![]() |
![]() Data Sheet |
![]() Negotiable |
|
||||||||||||
(China (Mainland))













